Измерение расхода
8 авг 2020 в 18:56
Наиболее широко применяющиеся приборы для измерения расходов веществ, протекающие по трубопроводам, можно разделить на следующие группы:
1. Расходомеры переменного перепада давления.
2. Расходомеры постоянного перепада давления.
3. Электромагнитные расходомеры.
4. Счетчики.
5. Другие.
Расходомеры переменного перепада давления
Расходомеры переменного перепада давления основаны на зависимости от расхода перепада давления, создаваемого устройством, которое установлено в трубопроводе, или же самим элементом последнего.
В состав расходомера входят: преобразователь расхода, создающий перепад давления; дифференциальный манометр, измеряющий этот перепад и соединительные (импульсные) трубки между преобразователем и дифманометром. При необходимости передать показания расходомера на значительное расстояние к указанным трём элементам добавляются ещё вторичный преобразователь, преобразующий перемещение подвижного элемента дифманометра в электрический и пневматический сигнал, который по линии связи передаётся к вторичному измерительному прибору. Если первичный дифманометр (или вторичный измерительный прибор) имеет интегратор, то такой прибор измеряет не только расход, но и количество прошедшего вещества.
В зависимости от принципа действия преобразователя расхода данные расходомеры подразделяются на шесть самостоятельных групп:
1. Расходомеры с сужающими устройствами.
2. Расходомеры с гидравлическим сопротивлением.
3. Центробежные расходомеры.
4. Расходомеры с напорным устройством.
5. Расходомеры с напорным усилителем.
6. Расходомеры ударно — струйные.
Рассмотрим поподробнее расходомеры с сужающим устройством, так как они получили наибольшее распространение в качестве основных промышленных приборов для измерения расхода жидкости, газа и пара. Они основаны на зависимости от расхода перепада давления, создаваемого сужающим устройством, в результате которого происходит преобразование части потенциальной энергии потока в кинетическую.
Имеется много разновидностей сужающих устройств. Так на рис.1, а и б показаны стандартные диафрагмы, на рис. 1, в – стандартное сопло, на рис. 1, г, д, е – диафрагмы для измерения загрязнённых веществ – сегментная, эксцентричная и кольцевая. На следующих семи позициях рис. 1 показаны сужающие устройства применяемые при малых числах Рейнольдса (для веществ с большой вязкостью); так, на рис. 1, ж, з, и изображены диафрагмы – двойная, с входным конусом, с двойным конусом, а на рис.1, к, л, м, н – сопла-полукруга, четверть круга, комбинированное и цилиндрическое. На рис. 1, о изображена диафрагма с переменной площадью отверстия, автоматически компенсирующая влияние изменения давления и температуры вещества. На рис. 1, н, р, с, т приведены расходомерные трубы – труба Вентури, сопло Вентури, труба Далла и сопло Вентури с двойным сужением. Для них характерна очень маленькая потеря давления.

Разность давлений до и после сужающего устройства измеряется дифманометром.
Расходомеры постоянного перепада давления


Принцип их действия основан на восприятии динамического напора контролируемой среды, зависящего от расхода, чувствительным элементом (например, поплавком), помещенным в поток. В результате воздействия потока чувствительный элемент перемещается, и величина перемещения служит мерой расхода.
Приборы, работающие на этом принципе – ротаметры.
Поток контролируемого вещества поступает в трубку снизу вверх и увлекает за собой поплавок, перемещая его вверх, на высоту Н. При этом увеличивается зазор между ним и стенкой конической трубки, в результате уменьшается скорость жидкости (газа) и возрастает давление над поплавком.

Ротаметры со стеклянной трубкой применяются только для визуальных отсчётов расхода и лишены устройств, для передачи сигнала на расстояние.
Ротаметр не следует устанавливать в трубопроводах, подверженным сильным вибрациям.
Длина прямого участка трубопровода перед ротаметром должна быть не менее 10 Ду, а после ротаметра не менее 5 Ду.
Электромагнитные расходомеры

В основе электромагнитных расходомеров лежит взаимодействие движущейся электропроводной жидкости с магнитным полем, подчиняющееся закону электромагнитной индукции.
Основное применение получили такие электромагнитные расходомеры, у которых измеряется ЭДС, индуктируемая в жидкости, при пересечении ею магнитного поля.
Достоинства электромагнитных расходомеров: независимость показаний от вязкости и плотности измеряемого вещества, возможность применения в трубах любого диаметра, отсутствие потери давления, линейность шкалы, необходимость в меньших длинах прямых участков труб, высокое быстродействие, возможность измерения агрессивных, абразивных и вязких жидкостей. Но электромагнитные расходомеры неприменимы для измерения расхода газа и пара, а также жидкостей диэлектриков, таких, как спирты и нефтепродукты. Они пригодны для измерения расхода жидкости, у которых удельная электрическая проводимость не менее 10-3 См/м.
Счётчики
По принципу действия все счетчики жидкостей и газов делятся на скоростные и объемные
Скоростные счетчики устроены таким образом, что жидкость, протекающая через камеру прибора, приводит во вращение вертушку или крыльчатку, угловая скорость которых пропорциональна скорости потока, а, следовательно, и расходу.

Объемные счетчики. Поступающая в прибор жидкость (или газ) измеряется отдельными, равными по объему дозами, которые затем суммируются.

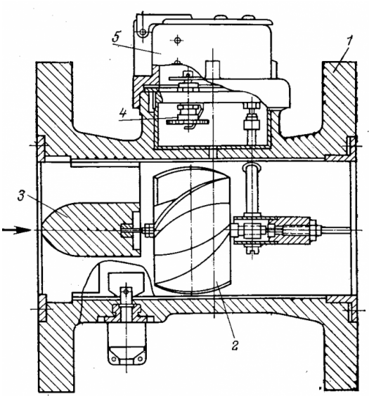
Скоростной счетчик с винтовой вертушкой служит для измерения больших объёмов воды.

Поток жидкости 4 поступая в прибор, выравнивается струевыпрямителем 3 и попадает на лопасти вертушки 2, которая выполнена в виде многозаходного винта с большим шагом лопасти.
Вращение вертушки через червячную пару и передаточный механизм 4 передается счетному устройству. Для регулировки прибора одна из радиальных лопастей струевыпрямителя делается поворотной, благодаря чему, изменяя скорость потока, можно укорить или замедлить скорость вертушки.
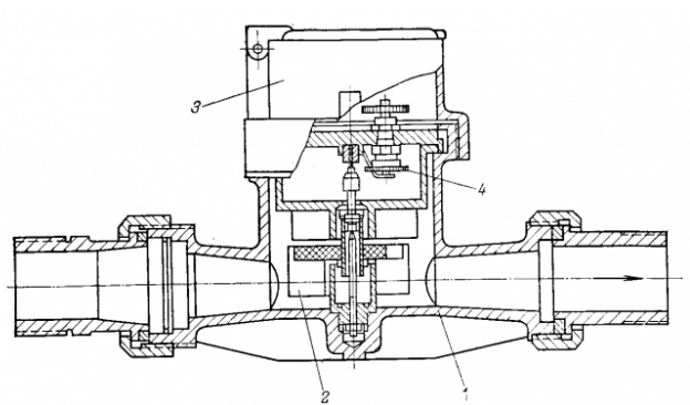
Скоростной счетчик с вертикальной крыльчаткой
Этот счетчик применяется для измерения сравнительно небольших расходов воды и выпускается на номинальные расходы от 1 до 6,3 м3/ч при калибрах от 15 до 40 мм.
В зависимости от распределения потока воды, поступающей на крыльчатку, различают две модификации счетчиков — одноструйные и многоструйные.

На рисунке показано устройство одноструйного счетчика. Жидкость подводится к крыльчатке тангенциально к окружности, описываемой средним радиусом лопастей.
Преимуществом многоструйных счетчиков является сравнительно небольшая нагрузка на опору и ось крыльчатки, а недостатком — более сложная по сравнению с одноструйными конструкция, возможность засорения струеподводящих отверстий.
Вертушки и крыльчатки счетчиков изготавливают из целлулоида, пластических масс и эбонита.

Счетчик устанавливается на линейном участке трубопровода, при чем на расстоянии 8-10 D перед ним (D-диаметр трубопровода) не должно быть устройств, искажающих поток (колена, тройники, задвижки и др.). В тех случаях, когда все же ожидается некоторое искажение потока, перед счетчиками устанавливают дополнительные струевыпрямители.
Счетчики с горизонтальной вертушкой можно устанавливать на горизонтальных, наклонных и вертикальных трубопроводах, тогда как счетчики с вертикальной крыльчаткой — только на горизонтальных трубопроводах.
Жидкостной объёмный счётчик с овальными шестернями
Действие этого счетчика основано на вытеснении определенных объемов жидкости из измерительной камеры прибора овальными шестернями, находящимися в зубчатом зацеплении и вращающимися под действием разности давлений на входном и выходном патрубках прибора.

В первом исходном положении (рис. а) поверхность га шестеренки 2 находится под давлением поступающей жидкости, а равная ей поверхность вг — под давлением выходящей жидкости. Меньшим входного. Эта разность давлений создает крутящий момент, вращающий шестерню 2 по часовой стрелке. При чем жидкость из полости 1 и полости, расположенной под шестерней 3, вытесняется в выходной патрубок. Крутящий момент шестерни 3 равен нулю, так как поверхности а1г1 и г1в1 равны и находятся под одинаковым входным давлением.

Следовательно, шестерня 2-ведущая, шестерня 3-ведомая.
В промежуточном положении (рис. б) шестерня 2 вращается в прежнем направлении, но ее крутящий момент будет меньше, чем в положении а, из-за противодействующего момента, созданного давлением на поверхность дг (д-точка контакта шестерней). Поверхность а1в1 шестерни 3 находится под давлением входящей, а поверхность в1 б1 -под давлением выходящей. Шестерня испытывает крутящий момент, направленный против часовой стрелки. В этом положении обе шестерни ведущие.
Во втором исходном положении (рис. в) шестерня 3 находится под действием наибольшего крутящего момента и является ведущей, в то время как крутящий момент шестерни 2 равен нулю, она ведомая.
Однако суммарный крутящий момент обеих шестерен для любого из положений остается постоянным.
За время полного оборот шестерен (один цикл работы счётчика) полости 1 и 4 два раза заполняются и два раза опорожняются. Объем четырех доз жидкости, вытесненных из этих полостей, и составляет измерительный объем счетчика.
Чем больше расход жидкости через счетчик, тем с большей скоростью вращаются шестерни.
Вытесняя отмеренные объемы. Передача от овальных шестерен счетному механизму осуществляется через магнитную муфту, которая работает следующим образом. Ведущий магнит укреплен в торце овальной шестерни 3, а ведомый на оси, связывающий муфту редуктором 5.
Камера, где расположены овальные шестерни, отделена от редуктора 5 и счетного механизма 6 немагнитной перегородкой. Вращаясь, ведущий вал укрепляет за собой ведомый.
Наиболее широко применяющиеся приборы для измерения расходов веществ, протекающие по трубопроводам, можно разделить на следующие группы:
1. Расходомеры переменного перепада давления.
2. Расходомеры постоянного перепада давления.
3. Электромагнитные расходомеры.
4. Счетчики.
5. Другие.
Расходомеры переменного перепада давления
Расходомеры переменного перепада давления основаны на зависимости от расхода перепада давления, создаваемого устройством, которое установлено в трубопроводе, или же самим элементом последнего.
В состав расходомера входят: преобразователь расхода, создающий перепад давления; дифференциальный манометр, измеряющий этот перепад и соединительные (импульсные) трубки между преобразователем и дифманометром. При необходимости передать показания расходомера на значительное расстояние к указанным трём элементам добавляются ещё вторичный преобразователь, преобразующий перемещение подвижного элемента дифманометра в электрический и пневматический сигнал, который по линии связи передаётся к вторичному измерительному прибору. Если первичный дифманометр (или вторичный измерительный прибор) имеет интегратор, то такой прибор измеряет не только расход, но и количество прошедшего вещества.
В зависимости от принципа действия преобразователя расхода данные расходомеры подразделяются на шесть самостоятельных групп:
1. Расходомеры с сужающими устройствами.
2. Расходомеры с гидравлическим сопротивлением.
3. Центробежные расходомеры.
4. Расходомеры с напорным устройством.
5. Расходомеры с напорным усилителем.
6. Расходомеры ударно — струйные.
Рассмотрим поподробнее расходомеры с сужающим устройством, так как они получили наибольшее распространение в качестве основных промышленных приборов для измерения расхода жидкости, газа и пара. Они основаны на зависимости от расхода перепада давления, создаваемого сужающим устройством, в результате которого происходит преобразование части потенциальной энергии потока в кинетическую.
Имеется много разновидностей сужающих устройств. Так на рис.1, а и б показаны стандартные диафрагмы, на рис. 1, в – стандартное сопло, на рис. 1, г, д, е – диафрагмы для измерения загрязнённых веществ – сегментная, эксцентричная и кольцевая. На следующих семи позициях рис. 1 показаны сужающие устройства применяемые при малых числах Рейнольдса (для веществ с большой вязкостью); так, на рис. 1, ж, з, и изображены диафрагмы – двойная, с входным конусом, с двойным конусом, а на рис.1, к, л, м, н – сопла-полукруга, четверть круга, комбинированное и цилиндрическое. На рис. 1, о изображена диафрагма с переменной площадью отверстия, автоматически компенсирующая влияние изменения давления и температуры вещества. На рис. 1, н, р, с, т приведены расходомерные трубы – труба Вентури, сопло Вентури, труба Далла и сопло Вентури с двойным сужением. Для них характерна очень маленькая потеря давления.

Разность давлений до и после сужающего устройства измеряется дифманометром.
Расходомеры постоянного перепада давления


Принцип их действия основан на восприятии динамического напора контролируемой среды, зависящего от расхода, чувствительным элементом (например, поплавком), помещенным в поток. В результате воздействия потока чувствительный элемент перемещается, и величина перемещения служит мерой расхода.
Приборы, работающие на этом принципе – ротаметры.
Поток контролируемого вещества поступает в трубку снизу вверх и увлекает за собой поплавок, перемещая его вверх, на высоту Н. При этом увеличивается зазор между ним и стенкой конической трубки, в результате уменьшается скорость жидкости (газа) и возрастает давление над поплавком.

Ротаметры со стеклянной трубкой применяются только для визуальных отсчётов расхода и лишены устройств, для передачи сигнала на расстояние.
Ротаметр не следует устанавливать в трубопроводах, подверженным сильным вибрациям.
Длина прямого участка трубопровода перед ротаметром должна быть не менее 10 Ду, а после ротаметра не менее 5 Ду.
Электромагнитные расходомеры

В основе электромагнитных расходомеров лежит взаимодействие движущейся электропроводной жидкости с магнитным полем, подчиняющееся закону электромагнитной индукции.
Основное применение получили такие электромагнитные расходомеры, у которых измеряется ЭДС, индуктируемая в жидкости, при пересечении ею магнитного поля.
Достоинства электромагнитных расходомеров: независимость показаний от вязкости и плотности измеряемого вещества, возможность применения в трубах любого диаметра, отсутствие потери давления, линейность шкалы, необходимость в меньших длинах прямых участков труб, высокое быстродействие, возможность измерения агрессивных, абразивных и вязких жидкостей. Но электромагнитные расходомеры неприменимы для измерения расхода газа и пара, а также жидкостей диэлектриков, таких, как спирты и нефтепродукты. Они пригодны для измерения расхода жидкости, у которых удельная электрическая проводимость не менее 10-3 См/м.
Счётчики
По принципу действия все счетчики жидкостей и газов делятся на скоростные и объемные
Скоростные счетчики устроены таким образом, что жидкость, протекающая через камеру прибора, приводит во вращение вертушку или крыльчатку, угловая скорость которых пропорциональна скорости потока, а, следовательно, и расходу.

Объемные счетчики. Поступающая в прибор жидкость (или газ) измеряется отдельными, равными по объему дозами, которые затем суммируются.

Скоростной счетчик с винтовой вертушкой служит для измерения больших объёмов воды.

Поток жидкости 4 поступая в прибор, выравнивается струевыпрямителем 3 и попадает на лопасти вертушки 2, которая выполнена в виде многозаходного винта с большим шагом лопасти.
Вращение вертушки через червячную пару и передаточный механизм 4 передается счетному устройству. Для регулировки прибора одна из радиальных лопастей струевыпрямителя делается поворотной, благодаря чему, изменяя скорость потока, можно укорить или замедлить скорость вертушки.
Скоростной счетчик с вертикальной крыльчаткой
Этот счетчик применяется для измерения сравнительно небольших расходов воды и выпускается на номинальные расходы от 1 до 6,3 м3/ч при калибрах от 15 до 40 мм.
В зависимости от распределения потока воды, поступающей на крыльчатку, различают две модификации счетчиков — одноструйные и многоструйные.

На рисунке показано устройство одноструйного счетчика. Жидкость подводится к крыльчатке тангенциально к окружности, описываемой средним радиусом лопастей.
Преимуществом многоструйных счетчиков является сравнительно небольшая нагрузка на опору и ось крыльчатки, а недостатком — более сложная по сравнению с одноструйными конструкция, возможность засорения струеподводящих отверстий.
Вертушки и крыльчатки счетчиков изготавливают из целлулоида, пластических масс и эбонита.

Счетчик устанавливается на линейном участке трубопровода, при чем на расстоянии 8-10 D перед ним (D-диаметр трубопровода) не должно быть устройств, искажающих поток (колена, тройники, задвижки и др.). В тех случаях, когда все же ожидается некоторое искажение потока, перед счетчиками устанавливают дополнительные струевыпрямители.
Счетчики с горизонтальной вертушкой можно устанавливать на горизонтальных, наклонных и вертикальных трубопроводах, тогда как счетчики с вертикальной крыльчаткой — только на горизонтальных трубопроводах.
Жидкостной объёмный счётчик с овальными шестернями
Действие этого счетчика основано на вытеснении определенных объемов жидкости из измерительной камеры прибора овальными шестернями, находящимися в зубчатом зацеплении и вращающимися под действием разности давлений на входном и выходном патрубках прибора.

В первом исходном положении (рис. а) поверхность га шестеренки 2 находится под давлением поступающей жидкости, а равная ей поверхность вг — под давлением выходящей жидкости. Меньшим входного. Эта разность давлений создает крутящий момент, вращающий шестерню 2 по часовой стрелке. При чем жидкость из полости 1 и полости, расположенной под шестерней 3, вытесняется в выходной патрубок. Крутящий момент шестерни 3 равен нулю, так как поверхности а1г1 и г1в1 равны и находятся под одинаковым входным давлением.

Следовательно, шестерня 2-ведущая, шестерня 3-ведомая.
В промежуточном положении (рис. б) шестерня 2 вращается в прежнем направлении, но ее крутящий момент будет меньше, чем в положении а, из-за противодействующего момента, созданного давлением на поверхность дг (д-точка контакта шестерней). Поверхность а1в1 шестерни 3 находится под давлением входящей, а поверхность в1 б1 -под давлением выходящей. Шестерня испытывает крутящий момент, направленный против часовой стрелки. В этом положении обе шестерни ведущие.
Во втором исходном положении (рис. в) шестерня 3 находится под действием наибольшего крутящего момента и является ведущей, в то время как крутящий момент шестерни 2 равен нулю, она ведомая.
Однако суммарный крутящий момент обеих шестерен для любого из положений остается постоянным.
За время полного оборот шестерен (один цикл работы счётчика) полости 1 и 4 два раза заполняются и два раза опорожняются. Объем четырех доз жидкости, вытесненных из этих полостей, и составляет измерительный объем счетчика.
Чем больше расход жидкости через счетчик, тем с большей скоростью вращаются шестерни.
Вытесняя отмеренные объемы. Передача от овальных шестерен счетному механизму осуществляется через магнитную муфту, которая работает следующим образом. Ведущий магнит укреплен в торце овальной шестерни 3, а ведомый на оси, связывающий муфту редуктором 5.
Камера, где расположены овальные шестерни, отделена от редуктора 5 и счетного механизма 6 немагнитной перегородкой. Вращаясь, ведущий вал укрепляет за собой ведомый.
Раздел: КИПиА
Случайная статья: Измерение давления