Расчет мощности трехфазного тока
25 июн 2021 в 20:43
В статье для упрощения обозначений линейные величины напряжения, тока и мощности трехфазной системы будут даваться без индексов, т. е. U, I и P.
Мощность трехфазного тока равна тройной мощности одной фазы.
При соединении в звезду PY=3·Uф·Iф·cosфи =3·Uф·I·cosфи.
При соединении в треугольник P=3·Uф·Iф·cosфи=3·U·Iф·cosфи.
На практике применяется формула, в которой ток и напряжение обозначают линейные величины и для соединения в звезду и в треугольник. В первое уравнение подставим Uф=U/1,73, а во второе Iф=I/1,73, получим общую формулу P=1,73·U·I·cosфи.
Примеры
1. Какую мощность P1 берет из сети трехфазный асинхронный двигатель, показанный на рис. 1 и 2, при соединении в звезду и треугольник, если линейное напряжение U=380 В, а линейный ток I=20 А при cosфи=0,7


Вольтметр и амперметр показывают линейные значения, действующие значения.
Мощность двигателя по общей формуле будет:
P1=1,73·U·I·cosфи=1,73·380·20·0,7=9203 Вт=9,2 кВт.
Если подсчитать мощность через фазные значения тока и напряжения, то при соединении в звезду фазный ток равен Iф=I=20 А, а фазное напряжение Uф=U/1,73=380/1,73,
значит, мощность
P1=3·Uф·Iф ·cosфи=3·U/1,73·I·cosфи=31,7380/1,73·20·0,7;
P1=3·380/1,73·20·0,7=9225 Вт = 9,2 кВт.
При соединении в треугольник фазное напряжение Uф=U, а фазный ток Iф=I/1,73=20/1,73; таким образом,
P1=3·Uф·Iф ·cosфи=3·U·I/1,73·cosфи;
P1=3·380·20/1,73·0,7=9225 Вт = 9,2 кВт.
2. В четырехпроводную сеть трехфазного тока между линейными и нулевым проводами включены лампы, а к трем линейным проводам подключается двигатель Д, как показано на рис. 3.

На каждую фазу включены 100 ламп по 40 Вт каждая и 10 двигателей мощностью по 5 кВт. Какие активную и полную мощности должен отдавать генератор Г при sinфи=0,8 Каковы токи фазный, линейный и в нулевом проводе генератора при линейном напряжении U=380 В·
Общая мощность ламп Pл=3·100·40 Вт =12000 Вт = 12 кВт.
Лампы находятся под фазным напряжением Uф=U/1,73=380/1,73=220 В.
Общая мощность трехфазных двигателей Pд=10·5 кВт = 50 кВт.
Активная мощность, отдаваемая генератором, PГ и получаемая потребителем P1 равны, если пренебречь потерей мощности в проводах электропередачи:
P1= PГ=Pл+Pд=12+50=62 кВт.
Полная мощность генератора S=PГ/cosфи =62/0,8=77,5 кВА.
В этом примере все фазы одинаково нагружены, а потому в нулевом проводе в каждое мгновение ток равен нулю.
Фазный ток обмотки статора генератора равен линейному току линии (Iф=I), а его значение можно получить, воспользовавшись формулой для мощности трехфазного тока:
I=P/(1,73·U ·cosфи)=62000/(1,73·380·0,8)=117,8 А.
3. На рис. 4 показано, что к фазе B и нулевому проводу подключена плитка мощностью 500 Вт, а к фазе C и нулевому проводу – лампа 60 Вт. К трем фазам ABC подключены двигатель мощностью 2 кВт при cosфи=0,7 и электрическая плита мощностью 3 кВт.
Чему равны общая активная и полная мощности потребителей· Какие токи проходят в отдельных фазах при линейном напряжении сети U=380 В

Активная мощность потребителей P=500+60+2000+3000=5560 Вт=5,56 кВт.
Полная мощность двигателя S=P/cosфи =2000/0,7=2857 ВА.
Общая полная мощность потребителей будет: Sобщ=500+60+2857+3000=6417 ВА = 6,417 кВА.
Ток электрической плитки Iп=Pп/Uф =Pп/(U·1,73)=500/220=2,27 А.
Ток лампы Iл=Pл/Uл =60/220=0,27 А.
Ток электрической плиты определим по формуле мощности для трехфазного тока при cosфи=1 (активное сопротивление):
P=1,73·U·I·cosфи=1,73·U·I;
I=P/(1,73·U)=3000/(1,73·380)=4,56 А.
Ток двигателя IД=P/(1,73·U·cosфи)=2000/(1,73·380·0,7)=4,34 А.
В проводе фазы A течет ток двигателя и электрической плиты:
IА=IД+I=4,34+4,56=8,9 А.
В фазе B течет ток двигателя, плитки и электрической плиты:
IВ=IД+Iп+I=4,34+2,27+4,56=11,17 А.
В фазе C течет ток двигателя, лампы и электрической плиты:
IС=IД+Iл+I=4,34+0,27+4,56=9,17 А.
Везде даны действующие значения токов.
На рис. 4 показано защитное заземление З электрической установки. Нулевой провод заземляется наглухо у питающей подстанции и потребителя. Все части установок, к которым возможно прикосновение человека, присоединяются к нулевому проводу и тем самым заземляются.
При случайном заземлении одной из фаз, например C, возникает однофазное короткое замыкание и предохранитель или автомат этой фазы отключает ее от источника питания. Если человек, стоящий на земле, коснется неизолированного провода фаз A и B, то он окажется только под фазным напряжением. При незаземленной нейтрали фаза C не была бы отключена и человек оказался бы под линейным напряжением по отношениям к фазам A и B.
4. Какую подводимую к двигателю мощность покажет трехфазный ваттметр, включенный в трехфазную сеть с линейным напряжением U=380 В при линейном токе I=10 А и cosфи=0,7· К. п. д. двигателя =0,8 Чему равна мощность двигателя на валу (рис. 5)

Ваттметр покажет подводимую к двигателю мощность P1 т. е. мощность полезную P2 плюс потери мощности в двигателе:
P1=1,73U·I·cosфи=1,73·380·10·0,7=4,6 кВт.
Полезная мощность, за вычетом потерь в обмотках и стали, а также механических в подшипниках
P2=4,6·0,8=3,68 кВт.
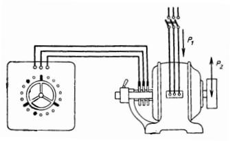
5. Трехфазный генератор отдает ток I=50 А при напряжении U=400 В и cosфи=0,7. Какая механическая мощность в лошадиных силах необходима для вращения генератора при к. п. д. генератора равна 0,8 (рис. 6)·

Активная электрическая мощность генератора, отдаваемая электродвигателю, PГ2=·(3·) U·I·cosфи=1,73·400·50·0,7=24220 Вт =24,22 кВт.
Механическая мощность, подводимая к генератору, PГ1 покрывает активную мощность PГ2 и потери в нем: PГ1=PГ2/Г =24,22/0,8·30,3 кВт.
Эта механическая мощность, выраженная в лошадиных силах, равна:
PГ1=30,3·1,36·41,2 л. с.
На рис. 6 показано, что к генератору подводится механическая мощность PГ1. Генератор преобразует ее в электрическую, которая равна
Эта мощность, активная и равна PГ2=1,73·U·I·cosфи, передается по проводам электродвигателю, в котором она преобразуется в механическую мощность. Кроме того, генератор посылает электродвигателю реактивную мощность Q, которая намагничивает двигатель, но в нем не расходуется, а возвращается в генератор.
Она равна Q=1,73·U·I·sinфи и не превращается ни в тепло, ни в механическую мощность. Полная мощность S=P·cosфи, как мы видели раньше, определяет только степень использования материалов, затраченных на изготовление машины.
6. Трехфазный генератор работает при напряжении U=5000 В и токе I=200 А при cosфи=0,8. Чему равен его к. п. д., если мощность, отдаваемая двигателем, вращающим генератор, равна 2000 л. с.
Мощность двигателя, поданная на вал генератора (если нет промежуточных передач),
PГ1=2000·0,736=1473 кВт.
Мощность, развиваемая трехфазным генератором,
PГ2=(3·)U·I·cosфи=1,73·5000·200·0,8=1384000 Вт =1384 кВт.
К. п. д. генератора PГ2/PГ1 =1384/1472=0,94=94%.
7. Какой ток проходит в обмотке трехфазного трансформатора при мощности 100 кВА и напряжении U=22000 В при cosфи=1
Полная мощность трансформатора S=1,73·U·I=1,73·22000·I.
Отсюда ток I=S/(1,73·U)=(100·1000)/(1,73·22000)=2,63 А.
8. Какой ток потребляет трехфазный асинхронный двигатель при мощности на валу 40 л. с. при напряжении 380 В, если его cosфи=0,8, а к. п. д.= 0,9
Мощность двигателя на валу, т. е. полезная, P2=40·736=29440 Вт.
Подводимая к двигателю мощность, т. е. мощность, получаемая из сети,
P1=29440/0,9=32711 Вт.
Ток двигателя I=P1/(1,73·U·I·cosфи)=32711/(1,73·380·0,8)=62 А.
9. Трехфазный асинхронный двигатель имеет на щитке следующие данные: P=15 л. с.; U=380/220 В; cosфи=0,8 соединение – звезда. Величины, обозначенные на щитке, называются номинальными.

Чему равны активная, полная и реактивная мощности двигателя? Каковы величины токов: полного, активного и реактивного (рис. 7)?
Механическая мощность двигателя (полезная) равна:
P2=15·0,736=11,04 кВт.
Подводимая к двигателю мощность P1 больше полезной на величину потерь в двигателе:
P1=11,04/0,85·13 кВт.
Полная мощность S=P1/cosфи =13/0,8=16,25 кВА;
Q=S·sinфи=16,25·0,6=9,75 кВАр (см. треугольник мощностей).

Ток в соединительных проводах, т. е. линейный, равен: I=P1/(1,73·U·cosфи)=S/(1,73·U)=16250/(1,731,7380)=24,7 А.
Активный ток Iа=I·cosфи=24,7·0,8=19,76 А.
Реактивный (намагничивающий) ток Iр=I·sinфи=24,7·0,6=14,82 А.
10. Определить ток в обмотке трехфазного электродвигателя, если она соединена в треугольник и полезная мощность двигателя P2=5,8 л. с. при к. п. д. =90%, коэффциенте мощности cosфи=0,8 и линейном напряжении сети 380 В.
Полезная мощность двигателя P2=5,8 л. с., или 4,26 кВт. Поданная к двигателю мощность
P1=4,26/0,9=4,74 кВт. I=P1/(1,73·U·cosфи)=(4,74·1000)/(1,73·380·0,8)=9,02 А.
При соединении в треугольник ток в обмотке фазы двигателя будет меньше, чем ток подводящих проводов: Iф=I/1,73=9,02/1,73=5,2 А.
11. Генератор постоянного тока для электролизной установки, рассчитанный на напряжение U=6 В и ток I=3000 А, в соединении с трехфазным асинхронным двигателем образует двигатель-генератор. К. п. д. генератора Г=70%, к. п. д. двигателя Д=90%, а его коэфициент мощности cosфи=0,8. Определить мощность двигателя на валу и подводимую к нему мощность (рис. 8 и 6).

Полезная мощность генератора PГ2=UГ·IГ=61,73000=18000 Вт.
Подводимая к генератору мощность равна мощности на валу P2 приводного асинхронного двигателя, которая равна сумме PГ2 и потерь мощности в генераторе, т. е. PГ1=18000/0,7=25714 Вт.
Активная мощность двигателя, подаваемая к нему из сети переменного тока,
P1 =25714/0,9=28571 Вт = 28,67 кВт.
12. Паровая турбина с к. п. д. ·Т=30% вращает генератор с к. п. д. = 92% и cosфи = 0,9. Какую подводимую мощность (л. с. и ккал/сек) должна иметь турбина, чтобы генератор обеспечивал ток 2000 А при напряжении U=6000 В (Перед началом расчета см. рис. 6 и 9.)

Мощность генератора переменного тока, отдаваемая потребителю,
PГ2=1,73·U·I·cosфи=1,73·6000·2000·0,9=18684 кВт.
Подводимая к генератору мощность равна мощности P2 на валу турбины:
PГ1=18684/0,92=20308 кВт.
Подводимая к турбине при помощи пара мощность
P1=20308/0,3=67693 кВт,
или P1=67693·1,36=92062 л. с.
Подводимую мощность к турбине в ккал/сек определим по формуле Q=0,24·P·t;
Q·t=0,24·P=0,24·67693=16246 ккал/сек.
13. Определить сечение провода длиной 22 м, по которому идет ток к трехфазному двигателю мощностью 5 л. с. напряжением 220 В при соединении обмотки статора в треугольник. cosфи=0,8; ·=0,85. Допустимое падение напряжения в проводах U=5%.
Подводимая к двигателю мощность при полезной мощности P2
P1=(5·0,736)/0,85=4,43 кВт.
По соединительным проводам протекает ток I=P1/(U·1,73·cosфи) = 4430/(220·1,73·0,8)=14,57 А.
В трехфазной линии токи складываются геометрически, поэтому падение напряжения в проводе следует брать U:1,73, а не U:2, как при однофазном токе. Тогда сопротивление провода:
r=(U:1,73)/I=(11:1,73)/14,57=0,436 Ом,
где U – в вольтах.
S=1/57·22/0,436=0,886 мм2
Сечение проводов в трехфазной цепи получается меньшим, чем в однофазной.
14. Определить и сравнить сечения проводов для постоянного переменного однофазного и трехфазного токов. К сети подсоединены 210 ламп по 60 Вт каждая на напряжение 220 В, находящиеся на расстоянии 200 м, от источника тока. Допустимое падение напряжения 2%.
а) При постоянном и однофазном переменном токах, т. е. когда имеются два провода, сечения будут одинаковыми, так как при осветительной нагрузке cosфи=1 и передаваемая мощность
P=210·60=12600 Вт,
а ток I=P/U=12600/220=57,3 А.
Допустимое падение напряжения U=220·2/100=4,4 В.
Сопротивление двух проводов r=U/I·4,4/57,3=0,0768 Ом.
Сечение провода
S1=1/57·(200·2)/0,0768=91,4 мм2.
Для передачи мощности необходимо общее сечение проводов 2·S1=2·91,4=182,8 мм2 при длине провода 200 м.
б) При трехфазном токе лампы можно соединить в треугольник, по 70 ламп на сторону.
При cosфи=1 передаваемая по проводам мощность P=1,73·Uл·I.
I=P/(U·1,73)=12600/(220·1,73)=33,1 А.
Допустимое падение напряжения в одном проводе трехфазной сети не U·2 (как в однофазной сети), a U·1,73. Сопротивление одного провода в трехфазной сети будет:
r=(U:1,73)/I=(4,4:1,73)/33,1=0,0769 Ом;
S3ф=1/57·200/0,0769=45,7 мм2.
Общее сечение проводов для передачи мощности 12,6 кВт в трехфазной сети при соединении в треугольник меньше, чем в однофазной: 3·S3ф=137,1 мм2.
в) При соединении в звезду необходимо линейное напряжение U=380 В, чтобы фазное напряжение на лампах было 220 В, т. е. чтобы лампы включались между нулевым проводом и каждым линейным.
Ток в проводах будет: I=P/(U:1,73)=12600/(380:1,73)=19,15 А.
Сопротивление провода r=(U:1,73)/I=(4,4:1,73)/19,15=0,1325 Ом;
S3зв=1/57·200/0,1325=26,15 мм2.
Общее сечение при соединении в звезду – самое маленькое, что достигается увеличением напряжения тока для передачи данной мощности: 3·S3зв=3·25,15=75,45 мм2.
В статье для упрощения обозначений линейные величины напряжения, тока и мощности трехфазной системы будут даваться без индексов, т. е. U, I и P.
Мощность трехфазного тока равна тройной мощности одной фазы.
При соединении в звезду PY=3·Uф·Iф·cosфи =3·Uф·I·cosфи.
При соединении в треугольник P=3·Uф·Iф·cosфи=3·U·Iф·cosфи.
На практике применяется формула, в которой ток и напряжение обозначают линейные величины и для соединения в звезду и в треугольник. В первое уравнение подставим Uф=U/1,73, а во второе Iф=I/1,73, получим общую формулу P=1,73·U·I·cosфи.
Примеры
1. Какую мощность P1 берет из сети трехфазный асинхронный двигатель, показанный на рис. 1 и 2, при соединении в звезду и треугольник, если линейное напряжение U=380 В, а линейный ток I=20 А при cosфи=0,7


Вольтметр и амперметр показывают линейные значения, действующие значения.
Мощность двигателя по общей формуле будет:
P1=1,73·U·I·cosфи=1,73·380·20·0,7=9203 Вт=9,2 кВт.
Если подсчитать мощность через фазные значения тока и напряжения, то при соединении в звезду фазный ток равен Iф=I=20 А, а фазное напряжение Uф=U/1,73=380/1,73,
значит, мощность
P1=3·Uф·Iф ·cosфи=3·U/1,73·I·cosфи=31,7380/1,73·20·0,7;
P1=3·380/1,73·20·0,7=9225 Вт = 9,2 кВт.
При соединении в треугольник фазное напряжение Uф=U, а фазный ток Iф=I/1,73=20/1,73; таким образом,
P1=3·Uф·Iф ·cosфи=3·U·I/1,73·cosфи;
P1=3·380·20/1,73·0,7=9225 Вт = 9,2 кВт.
2. В четырехпроводную сеть трехфазного тока между линейными и нулевым проводами включены лампы, а к трем линейным проводам подключается двигатель Д, как показано на рис. 3.

На каждую фазу включены 100 ламп по 40 Вт каждая и 10 двигателей мощностью по 5 кВт. Какие активную и полную мощности должен отдавать генератор Г при sinфи=0,8 Каковы токи фазный, линейный и в нулевом проводе генератора при линейном напряжении U=380 В·
Общая мощность ламп Pл=3·100·40 Вт =12000 Вт = 12 кВт.
Лампы находятся под фазным напряжением Uф=U/1,73=380/1,73=220 В.
Общая мощность трехфазных двигателей Pд=10·5 кВт = 50 кВт.
Активная мощность, отдаваемая генератором, PГ и получаемая потребителем P1 равны, если пренебречь потерей мощности в проводах электропередачи:
P1= PГ=Pл+Pд=12+50=62 кВт.
Полная мощность генератора S=PГ/cosфи =62/0,8=77,5 кВА.
В этом примере все фазы одинаково нагружены, а потому в нулевом проводе в каждое мгновение ток равен нулю.
Фазный ток обмотки статора генератора равен линейному току линии (Iф=I), а его значение можно получить, воспользовавшись формулой для мощности трехфазного тока:
I=P/(1,73·U ·cosфи)=62000/(1,73·380·0,8)=117,8 А.
3. На рис. 4 показано, что к фазе B и нулевому проводу подключена плитка мощностью 500 Вт, а к фазе C и нулевому проводу – лампа 60 Вт. К трем фазам ABC подключены двигатель мощностью 2 кВт при cosфи=0,7 и электрическая плита мощностью 3 кВт.
Чему равны общая активная и полная мощности потребителей· Какие токи проходят в отдельных фазах при линейном напряжении сети U=380 В

Активная мощность потребителей P=500+60+2000+3000=5560 Вт=5,56 кВт.
Полная мощность двигателя S=P/cosфи =2000/0,7=2857 ВА.
Общая полная мощность потребителей будет: Sобщ=500+60+2857+3000=6417 ВА = 6,417 кВА.
Ток электрической плитки Iп=Pп/Uф =Pп/(U·1,73)=500/220=2,27 А.
Ток лампы Iл=Pл/Uл =60/220=0,27 А.
Ток электрической плиты определим по формуле мощности для трехфазного тока при cosфи=1 (активное сопротивление):
P=1,73·U·I·cosфи=1,73·U·I;
I=P/(1,73·U)=3000/(1,73·380)=4,56 А.
Ток двигателя IД=P/(1,73·U·cosфи)=2000/(1,73·380·0,7)=4,34 А.
В проводе фазы A течет ток двигателя и электрической плиты:
IА=IД+I=4,34+4,56=8,9 А.
В фазе B течет ток двигателя, плитки и электрической плиты:
IВ=IД+Iп+I=4,34+2,27+4,56=11,17 А.
В фазе C течет ток двигателя, лампы и электрической плиты:
IС=IД+Iл+I=4,34+0,27+4,56=9,17 А.
Везде даны действующие значения токов.
На рис. 4 показано защитное заземление З электрической установки. Нулевой провод заземляется наглухо у питающей подстанции и потребителя. Все части установок, к которым возможно прикосновение человека, присоединяются к нулевому проводу и тем самым заземляются.
При случайном заземлении одной из фаз, например C, возникает однофазное короткое замыкание и предохранитель или автомат этой фазы отключает ее от источника питания. Если человек, стоящий на земле, коснется неизолированного провода фаз A и B, то он окажется только под фазным напряжением. При незаземленной нейтрали фаза C не была бы отключена и человек оказался бы под линейным напряжением по отношениям к фазам A и B.
4. Какую подводимую к двигателю мощность покажет трехфазный ваттметр, включенный в трехфазную сеть с линейным напряжением U=380 В при линейном токе I=10 А и cosфи=0,7· К. п. д. двигателя =0,8 Чему равна мощность двигателя на валу (рис. 5)

Ваттметр покажет подводимую к двигателю мощность P1 т. е. мощность полезную P2 плюс потери мощности в двигателе:
P1=1,73U·I·cosфи=1,73·380·10·0,7=4,6 кВт.
Полезная мощность, за вычетом потерь в обмотках и стали, а также механических в подшипниках
P2=4,6·0,8=3,68 кВт.
5. Трехфазный генератор отдает ток I=50 А при напряжении U=400 В и cosфи=0,7. Какая механическая мощность в лошадиных силах необходима для вращения генератора при к. п. д. генератора равна 0,8 (рис. 6)·

Активная электрическая мощность генератора, отдаваемая электродвигателю, PГ2=·(3·) U·I·cosфи=1,73·400·50·0,7=24220 Вт =24,22 кВт.
Механическая мощность, подводимая к генератору, PГ1 покрывает активную мощность PГ2 и потери в нем: PГ1=PГ2/Г =24,22/0,8·30,3 кВт.
Эта механическая мощность, выраженная в лошадиных силах, равна:
PГ1=30,3·1,36·41,2 л. с.
На рис. 6 показано, что к генератору подводится механическая мощность PГ1. Генератор преобразует ее в электрическую, которая равна
Эта мощность, активная и равна PГ2=1,73·U·I·cosфи, передается по проводам электродвигателю, в котором она преобразуется в механическую мощность. Кроме того, генератор посылает электродвигателю реактивную мощность Q, которая намагничивает двигатель, но в нем не расходуется, а возвращается в генератор.
Она равна Q=1,73·U·I·sinфи и не превращается ни в тепло, ни в механическую мощность. Полная мощность S=P·cosфи, как мы видели раньше, определяет только степень использования материалов, затраченных на изготовление машины.
6. Трехфазный генератор работает при напряжении U=5000 В и токе I=200 А при cosфи=0,8. Чему равен его к. п. д., если мощность, отдаваемая двигателем, вращающим генератор, равна 2000 л. с.
Мощность двигателя, поданная на вал генератора (если нет промежуточных передач),
PГ1=2000·0,736=1473 кВт.
Мощность, развиваемая трехфазным генератором,
PГ2=(3·)U·I·cosфи=1,73·5000·200·0,8=1384000 Вт =1384 кВт.
К. п. д. генератора PГ2/PГ1 =1384/1472=0,94=94%.
7. Какой ток проходит в обмотке трехфазного трансформатора при мощности 100 кВА и напряжении U=22000 В при cosфи=1
Полная мощность трансформатора S=1,73·U·I=1,73·22000·I.
Отсюда ток I=S/(1,73·U)=(100·1000)/(1,73·22000)=2,63 А.
8. Какой ток потребляет трехфазный асинхронный двигатель при мощности на валу 40 л. с. при напряжении 380 В, если его cosфи=0,8, а к. п. д.= 0,9
Мощность двигателя на валу, т. е. полезная, P2=40·736=29440 Вт.
Подводимая к двигателю мощность, т. е. мощность, получаемая из сети,
P1=29440/0,9=32711 Вт.
Ток двигателя I=P1/(1,73·U·I·cosфи)=32711/(1,73·380·0,8)=62 А.
9. Трехфазный асинхронный двигатель имеет на щитке следующие данные: P=15 л. с.; U=380/220 В; cosфи=0,8 соединение – звезда. Величины, обозначенные на щитке, называются номинальными.

Чему равны активная, полная и реактивная мощности двигателя? Каковы величины токов: полного, активного и реактивного (рис. 7)?
Механическая мощность двигателя (полезная) равна:
P2=15·0,736=11,04 кВт.
Подводимая к двигателю мощность P1 больше полезной на величину потерь в двигателе:
P1=11,04/0,85·13 кВт.
Полная мощность S=P1/cosфи =13/0,8=16,25 кВА;
Q=S·sinфи=16,25·0,6=9,75 кВАр (см. треугольник мощностей).

Ток в соединительных проводах, т. е. линейный, равен: I=P1/(1,73·U·cosфи)=S/(1,73·U)=16250/(1,731,7380)=24,7 А.
Активный ток Iа=I·cosфи=24,7·0,8=19,76 А.
Реактивный (намагничивающий) ток Iр=I·sinфи=24,7·0,6=14,82 А.
10. Определить ток в обмотке трехфазного электродвигателя, если она соединена в треугольник и полезная мощность двигателя P2=5,8 л. с. при к. п. д. =90%, коэффциенте мощности cosфи=0,8 и линейном напряжении сети 380 В.
Полезная мощность двигателя P2=5,8 л. с., или 4,26 кВт. Поданная к двигателю мощность
P1=4,26/0,9=4,74 кВт. I=P1/(1,73·U·cosфи)=(4,74·1000)/(1,73·380·0,8)=9,02 А.
При соединении в треугольник ток в обмотке фазы двигателя будет меньше, чем ток подводящих проводов: Iф=I/1,73=9,02/1,73=5,2 А.
11. Генератор постоянного тока для электролизной установки, рассчитанный на напряжение U=6 В и ток I=3000 А, в соединении с трехфазным асинхронным двигателем образует двигатель-генератор. К. п. д. генератора Г=70%, к. п. д. двигателя Д=90%, а его коэфициент мощности cosфи=0,8. Определить мощность двигателя на валу и подводимую к нему мощность (рис. 8 и 6).

Полезная мощность генератора PГ2=UГ·IГ=61,73000=18000 Вт.
Подводимая к генератору мощность равна мощности на валу P2 приводного асинхронного двигателя, которая равна сумме PГ2 и потерь мощности в генераторе, т. е. PГ1=18000/0,7=25714 Вт.
Активная мощность двигателя, подаваемая к нему из сети переменного тока,
P1 =25714/0,9=28571 Вт = 28,67 кВт.
12. Паровая турбина с к. п. д. ·Т=30% вращает генератор с к. п. д. = 92% и cosфи = 0,9. Какую подводимую мощность (л. с. и ккал/сек) должна иметь турбина, чтобы генератор обеспечивал ток 2000 А при напряжении U=6000 В (Перед началом расчета см. рис. 6 и 9.)

Мощность генератора переменного тока, отдаваемая потребителю,
PГ2=1,73·U·I·cosфи=1,73·6000·2000·0,9=18684 кВт.
Подводимая к генератору мощность равна мощности P2 на валу турбины:
PГ1=18684/0,92=20308 кВт.
Подводимая к турбине при помощи пара мощность
P1=20308/0,3=67693 кВт,
или P1=67693·1,36=92062 л. с.
Подводимую мощность к турбине в ккал/сек определим по формуле Q=0,24·P·t;
Q·t=0,24·P=0,24·67693=16246 ккал/сек.
13. Определить сечение провода длиной 22 м, по которому идет ток к трехфазному двигателю мощностью 5 л. с. напряжением 220 В при соединении обмотки статора в треугольник. cosфи=0,8; ·=0,85. Допустимое падение напряжения в проводах U=5%.
Подводимая к двигателю мощность при полезной мощности P2
P1=(5·0,736)/0,85=4,43 кВт.
По соединительным проводам протекает ток I=P1/(U·1,73·cosфи) = 4430/(220·1,73·0,8)=14,57 А.
В трехфазной линии токи складываются геометрически, поэтому падение напряжения в проводе следует брать U:1,73, а не U:2, как при однофазном токе. Тогда сопротивление провода:
r=(U:1,73)/I=(11:1,73)/14,57=0,436 Ом,
где U – в вольтах.
S=1/57·22/0,436=0,886 мм2
Сечение проводов в трехфазной цепи получается меньшим, чем в однофазной.
14. Определить и сравнить сечения проводов для постоянного переменного однофазного и трехфазного токов. К сети подсоединены 210 ламп по 60 Вт каждая на напряжение 220 В, находящиеся на расстоянии 200 м, от источника тока. Допустимое падение напряжения 2%.
а) При постоянном и однофазном переменном токах, т. е. когда имеются два провода, сечения будут одинаковыми, так как при осветительной нагрузке cosфи=1 и передаваемая мощность
P=210·60=12600 Вт,
а ток I=P/U=12600/220=57,3 А.
Допустимое падение напряжения U=220·2/100=4,4 В.
Сопротивление двух проводов r=U/I·4,4/57,3=0,0768 Ом.
Сечение провода
S1=1/57·(200·2)/0,0768=91,4 мм2.
Для передачи мощности необходимо общее сечение проводов 2·S1=2·91,4=182,8 мм2 при длине провода 200 м.
б) При трехфазном токе лампы можно соединить в треугольник, по 70 ламп на сторону.
При cosфи=1 передаваемая по проводам мощность P=1,73·Uл·I.
I=P/(U·1,73)=12600/(220·1,73)=33,1 А.
Допустимое падение напряжения в одном проводе трехфазной сети не U·2 (как в однофазной сети), a U·1,73. Сопротивление одного провода в трехфазной сети будет:
r=(U:1,73)/I=(4,4:1,73)/33,1=0,0769 Ом;
S3ф=1/57·200/0,0769=45,7 мм2.
Общее сечение проводов для передачи мощности 12,6 кВт в трехфазной сети при соединении в треугольник меньше, чем в однофазной: 3·S3ф=137,1 мм2.
в) При соединении в звезду необходимо линейное напряжение U=380 В, чтобы фазное напряжение на лампах было 220 В, т. е. чтобы лампы включались между нулевым проводом и каждым линейным.
Ток в проводах будет: I=P/(U:1,73)=12600/(380:1,73)=19,15 А.
Сопротивление провода r=(U:1,73)/I=(4,4:1,73)/19,15=0,1325 Ом;
S3зв=1/57·200/0,1325=26,15 мм2.
Общее сечение при соединении в звезду – самое маленькое, что достигается увеличением напряжения тока для передачи данной мощности: 3·S3зв=3·25,15=75,45 мм2.
Раздел: Электрика
Случайная статья: Измерения и испытания cиловых трансформаторов